折叠iPhone早期设计曝光:左右对折方案、秒变小平板
近几年,手机业内一直都有关于折叠屏iPhone的传闻,虽然苹果官方并未透露过任何信息,但是几乎可以确定其内部正在规划这样一款新机。
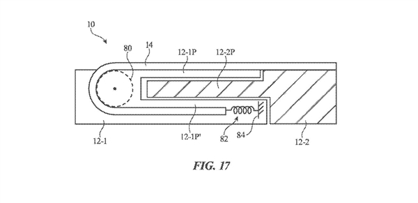
此前曾有消息称,在苹果的规划中不止一款iPhone,而是拥有两种不同形态的机型正在同时研发,分别采用了上下翻折和左右翻折的设计。
近日,有爆料者曝光了其中一款左右翻折的折叠屏iPhone方案,报道称苹果近期对一项叫做“具有可滑动扩展显示屏的电子装置(Electronic devices having sliding expandable displays)”的专利进行了更新。
对于同一种技术专利进行更新,这就意味着苹果对这种技术抱有期望,并且在持续的开发、优化,很可能会出现在最终的量产机上。
但需要注意的是,这款可折叠iPhone似乎并未采用一整块折叠屏的方案,而是通过机械运动的方式,让左右两侧的屏幕在打开时组合在一起,同时显示画面,整体就像是一块更小尺寸的平板,能显示更多内容。
据此前苹果爆料一哥郭明錤透露,通过对相关的产业调查,预测苹果将会在2023年推出可挠式折叠iPhone,将采用8英寸QHD+的OLED柔性屏,预估2023年折叠iPhone出货量在1500–2000万部之间。
郭明錤还指出,随着折叠手机的到来,将进一步模糊化手机、平板与笔记型电脑之间的产品区隔。由于苹果具备跨产品生态与硬体设计优势,将会是新折叠装置趋势的最大赢家。



特别提醒:本网信息来自于互联网,目的在于传递更多信息,并不代表本网赞同其观点。其原创性以及文中陈述文字和内容未经本站证实,对本文以及其中全部或者部分内容、文字的真实性、完整性、及时性本站不作任何保证或承诺,并请自行核实相关内容。本站不承担此类作品侵权行为的直接责任及连带责任。如若本网有任何内容侵犯您的权益,请及时联系我们,本站将会在24小时内处理完毕。