消息称微软将推出新款 Surface Book:设计类似苹果妙控键盘 + iPad
8 月 13 日消息 微软可能在他们的下一款 Surface Book 中借鉴苹果 Magic Keyboard(妙控键盘)的设计,这是由 WindowsUnited 几周前发现的一项新专利所暗示。

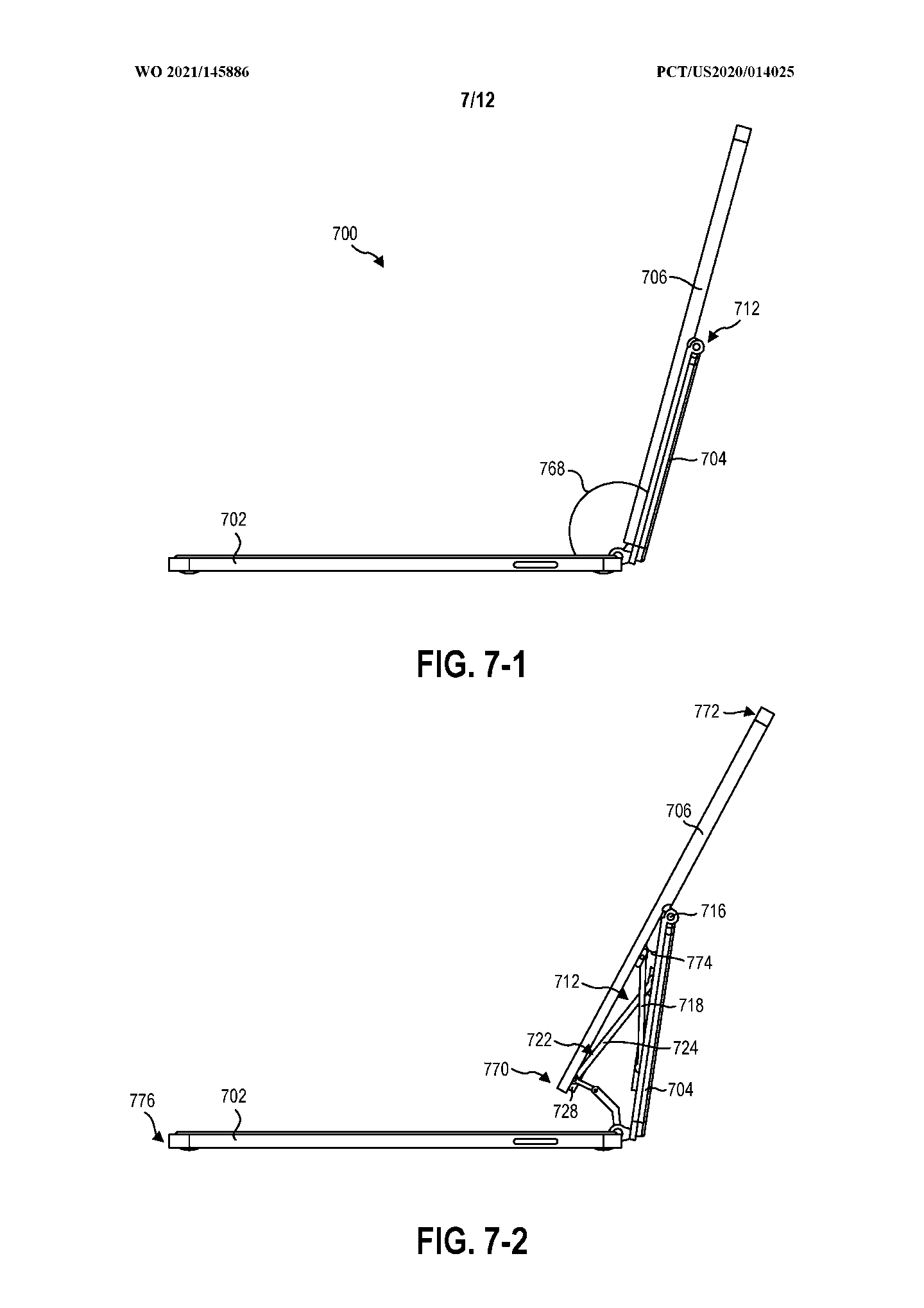
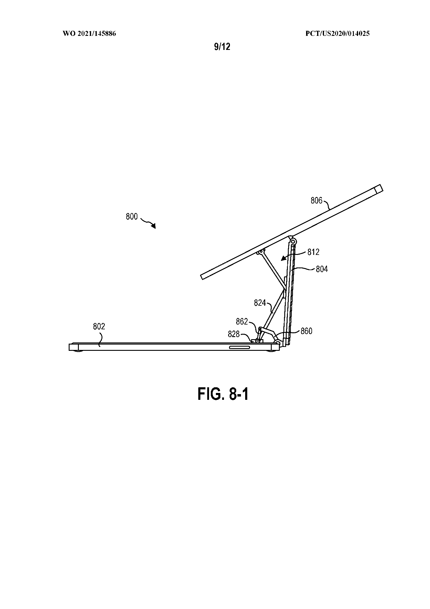
该专利于 2020 年 1 月 17 日申请,于 2021 年 7 月 22 日公布,显示了一种可以从普通的翻盖设计转换为像 Magic Keyboard 那样的浮动屏幕的设计,这与苹果的妙控键盘 + iPad 组合有很大的相似之处。

现在据外媒 Windows Central 报道称,这个设计可能是真实的,因为根据他们的消息来源,微软正在开发一款新的 Surface Book,有一个大约 14 英寸的“非可拆卸显示屏”。
据报道,该设备将采用更强大的处理器和显卡,升级屏幕,并可能配备更大的触控板和新的 Surface Pen,并改进触觉反馈。
该设备可能使用 Surface Book Pro 或 Surface Book Studio 的名字,会运行 Windows 11 系统。如果这是真的,新机应该在今年秋天的某个时候上架。
下面是专利中展示设计的插图:








特别提醒:本网信息来自于互联网,目的在于传递更多信息,并不代表本网赞同其观点。其原创性以及文中陈述文字和内容未经本站证实,对本文以及其中全部或者部分内容、文字的真实性、完整性、及时性本站不作任何保证或承诺,并请自行核实相关内容。本站不承担此类作品侵权行为的直接责任及连带责任。如若本网有任何内容侵犯您的权益,请及时联系我们,本站将会在24小时内处理完毕。