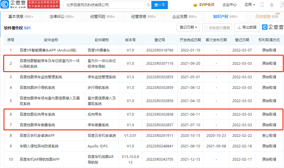
百度地图反向寻车系统、停车缴费系统、智能停车及车位级室内外一体化导航系统获登记批准
2022-03-08 15:48:00 来源:互联网
信息显示,近日,北京百度网讯科技有限公司“百度地图反向寻车系统”软件著作权获登记批准,登记号为 2022SR0302858,当前版本号为 V1.0。

此外,同时获得登记批准的还有“百度地图停车缴费系统”、“百度地图智能停车及车位级室内外一体化导航系统”等。

据商店介绍,百度地图是新一代人工智能地图,是为用户提供智能路线规划及导航、地点查询、智能旅游等出行相关服务的平台,支持全局语音交互,AR 实景导航等全新交互模式。致力于为用户提供更准确、更丰富、更易用的出行服务。
特别提醒:本网信息来自于互联网,目的在于传递更多信息,并不代表本网赞同其观点。其原创性以及文中陈述文字和内容未经本站证实,对本文以及其中全部或者部分内容、文字的真实性、完整性、及时性本站不作任何保证或承诺,并请自行核实相关内容。本站不承担此类作品侵权行为的直接责任及连带责任。如若本网有任何内容侵犯您的权益,请及时联系我们,本站将会在24小时内处理完毕。