摩托罗拉申请翻盖折叠手机新专利:显示屏外置
2 月 7 日消息,摩托罗拉是最早推出可折叠智能手机的公司之一,但 Moto Razr 及其 5G 版本已经推出近 1 年半时间,后续机型仍不知何时问世。

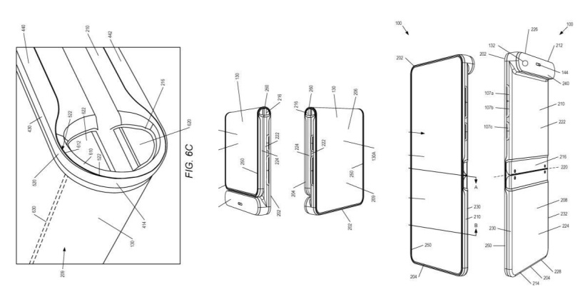
摩托罗拉公司现在获得了 WIPO(世界知识产权组织)授予的另一项可折叠手机的专利,专利中的手机高而窄,像 Razr 一样,但屏幕在外面,也就是可折叠显示屏包裹着手机,折叠后形成一个双屏幕设备。
该专利还显示,手机顶部留有一个凸起的模块,用于放置摄像头,铰链将采用一个全新的解决方案,会尽量减少折痕,并允许手机平齐折叠,没有任何缝隙。
在 P50 Pocket 去年 12 月发布之后,联想集团中国区手机业务部总经理陈劲预告,摩托罗拉打造的第三代折叠屏手机即将登场。XDA 爆料称摩托罗拉 Razr 3 搭载高通骁龙 8 旗舰处理器,最高配备 12GB 内存,主屏为挖孔屏形态,刷新率为 120Hz。爆料称该机也有副屏,它和华为 P50 Pocket 一样可以显示通知、来电信息等。

▲ 摩托罗拉第二代折叠屏手机
特别提醒:本网信息来自于互联网,目的在于传递更多信息,并不代表本网赞同其观点。其原创性以及文中陈述文字和内容未经本站证实,对本文以及其中全部或者部分内容、文字的真实性、完整性、及时性本站不作任何保证或承诺,并请自行核实相关内容。本站不承担此类作品侵权行为的直接责任及连带责任。如若本网有任何内容侵犯您的权益,请及时联系我们,本站将会在24小时内处理完毕。