索尼申请 3D 扫描仪专利,可将现实世界的大件物体放入 VR 中
2022-01-10 09:03:00 来源:互联网
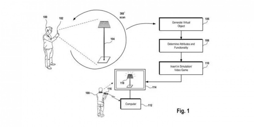
1 月 10 日消息,索尼申请了一项 3D 扫描仪专利,可以将现实世界的大件物体放入 VR 中。

文件显示,3D 扫描仪可能用于将现实生活中的物体放入虚拟世界,或者它可以用于更好地将真实环境与虚拟环境融合在一起。
此外,用户将能够扫描更大的物体,而不仅仅是一些小的手持物品,唯一的要求是 360 度扫描物体,从而构建完整的模型。
据了解,索尼在 CES 2022 上公布了 PlayStation VR2 虚拟现实头显,采用 OLED 显示屏,支持 4K 分辨率(每只眼睛 2000 x 2,040 像素),支持 90/120Hz 屏幕刷新率以及 HDR 选项、110 度广角视野、眼球追踪技术、3D 环绕音效,以及头戴显示器震动等功能。


特别提醒:本网信息来自于互联网,目的在于传递更多信息,并不代表本网赞同其观点。其原创性以及文中陈述文字和内容未经本站证实,对本文以及其中全部或者部分内容、文字的真实性、完整性、及时性本站不作任何保证或承诺,并请自行核实相关内容。本站不承担此类作品侵权行为的直接责任及连带责任。如若本网有任何内容侵犯您的权益,请及时联系我们,本站将会在24小时内处理完毕。